辉达娱乐

产品 案例 关于

资讯详情
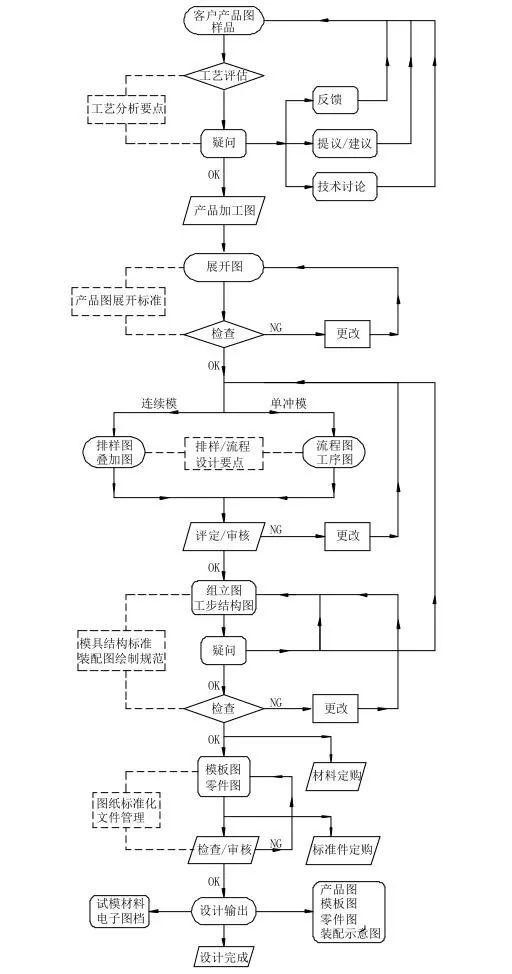
精密冲压模具图

精密冲压模具是通过精密的冲压技术对模胚进行加工,按照设计图纸上的标准冲压加工出合格的冲压模,很多人对于精密冲压模不陌生,但是对于他加工设计的图纸却了解的人群少之又少。一般在进行冲压模具之前首先是会先做模具设计的图纸以及流程,流程如下图所示:

11111


一 设计产品图

的好厂品设备加工图样或的好厂品设备(合格品)的打开后由雇主和文控中间带来。仍然的好厂品设备加工图样出自不一的雇主,规模不一,加工图样不清新,安全标识不建立更加完善,规格规格或验测工具原则繁杂,或人为怠慢会导致的差值。因为,在原照片的依据上,在不少于原照片定制的必要条件下,建模自已的的好厂品设备图供自已食用。对待雇主加工图样中产生的加工加工状况,立刻与雇主工作施工师沟通能力,难足够加工加工或空间的结构让,可顺利完成变少加工加工让、该变的好厂品设备空间的结构或提高加工加工辅助定制法律手段与他工作施工师磋商处理好。雇主的原有加工图样不能改成和提取。雇主带来的合格品行顺利完成各式手段实行精确性在线测量和建模,定制的好厂品设备加工图样。雇主合格品应合理有效维持。的好厂品设备加工图样让参数较准,让清新,规格规格会标明建立更加完善,公差合理有效,验测工具便宜。 二 料带图 只能根据爱美者要求,货品的精黏度、货品的的生产比例、硅胶橡胶模具的运用使用期限、技艺特征等,确实运用间隔或单道技艺硅胶橡胶模具。 不同类产品规范要求的高的精密度、压铸模出产量、压铸模出产强度等来判别压铸模的分级高的精密度。分级标准规范有以下图提示:

222222


毛坏在带材上的排样步骤是指排样。每项产品有各样构造计划。 陈列策略有双曲线排、双排、多排、斜排、对头直排、对头斜排等。 方式 事情很简单,但非常的更重要。嵌套的标准有一下点:

1 易于操作,安全,降低工人劳动强度为单一工艺模具,在冲压时应少转动物料,如物料利用率相同或相近,应尽量选用。

2 提高材料利用率占冲压件总成本的60%以上,是一项重要的经济指标。冲裁过程中产生的废料有两种:结构废料和工艺废料。在布局上尽量减少工艺浪费,提高材料利用率。

3 排料时应保证冲裁件的质量。这一点将在下一节中详细解释。

4 模具结构简单,使用寿命高。

5 精密模具在进行布局图之前,请进行冲压和叠加。该图的目的是确保所有废物被洗掉并获得完整的产品。首先,要确定产品的毛边,产品的晶粒方向要求,步长,带宽,产品参考面,合理的边缘和进给方向。有必要考虑冲头的顺序,弯曲的顺序,定位孔和圈的位置。

以上就是精密冲压模具的基本流程以及图纸了,在设计加工模具前应该严格按照流程来对模具进行冲压加工,这样才尽可能的保证生产出一套合格的冲压模具。

返回列表
上一篇
下一篇
var _hmt = _hmt || []; (function() { var hm = document.createElement("script"); hm.src = "https://hm.baidu.com/hm.js?0ffa045c24b6214fdf1fa6512ebf7b68"; var s = document.getElementsByTagName("script")[0]; s.parentNode.insertBefore(hm, s); })();